国内开车出国自驾游,ATA单证册自助申请全攻略

ATA单证册,关于什么是ATA单证册,有怎样的制度,哪些优越性。这里就不说了,网上多的是,感兴趣的卡友可以自己找。
出国自驾游,比如前往俄罗斯联邦、欧洲申根国、巴基斯坦等国家。
人持有中华人民共和国护照和要去的国家签证,那么,爱车什么照呢?
爱车必须持有《ATA单证册》,一本蓝色的爱车护照。
这个蓝色的本,有效期是一年,有效期内可以重复使用。

ATA单证册怎样申请呢?

2018年支持在线申请,中国国际商会ATA网站官网,www.atachina.org

没有账户,先注册。

ATA单证册在线申请流程

账户申请完毕后,登录。

首先进入,申办单证册页面,填写申请人基本信息。

准备好个人身份证,正反面的电子扫描件。

申请人基本信息填写单证册信息

在实际填写和审核中,注意如下几个事项,多数被拒绝原因也是这几项:

1、货物用途,请填写“专业设备”;

2、具体描述,写清“自驾游”;

3、运输方式,“随身携带”公路运输;自驾游必选;

4、国境国/地区,只去一个国家就不用填写了;多填几个,名字不对,又得重新审核。还是别给自己找麻烦了;

5、计划行程中,如果俄罗斯,一定要填写“俄罗斯联邦”,不要只写“俄罗斯”三个字;

6、签证机构,选择“中国国际商会”;

单证册基本情况

车辆信息填写

请参照如下中英文翻译填写:

件数,1件。重量KG,参考行驶证KG。价值,按照新车发票金额填写。

ATA单证册货物清单ATA单证册申请中车辆中英文信息对照。

填写完毕,大功告成,静静的等待审核吧。

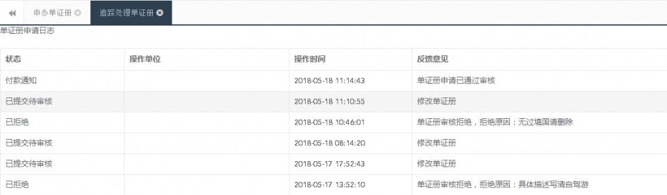
一张图告诉你现在北京贸促会工作人员效率是多么的高了。

网站左侧栏,追踪处理单证册栏目,会有审核的过程,一目了然。

审核通过后,回到追踪页面,打印付款通知。根据付款通知中的账号信息,交纳押金。

押金是购车发票金额的50%,最低10万。

申请ATA单证册是不需要缴纳任何申请费用的。

取证的必带材料如下

1、车辆行驶证或者登记证复印件;

2、有效期内的商业保险单;注意是商业险哦,不是交强险;

3、驾照和身份证复印件;

4、车辆照片;(2018新规,角度为前侧方和后侧方,2张即可。清晰体现车辆外观)

重点:照片必须本人签字按手印;

5、如果驾驶人不是申请人,需要申请人身份证复印件,申请人签字按手印。

以上五项缺一不可。

接着,你就可以拿到手中的ATA单证册。蓝色的本。

使用完毕后,回来记得核销,网上可操作。退押金哦。

核销时,在回来的中国海关,记得盖章确认,说明你已将车辆驾驶回国哦。

顺便说说国外开车驾照的事

国际驾照这种东东,目前是没法考取的。也不要到处乱申请了。

驾照,最多的可能就是公证了。将中国驾照的信息,翻译成为英文或俄文或你所前往的国家官方语言。

当然需要公证费,关于这个费用也没个统一的标准,也没有统一的认证机构。卡友自己看着办。

另一个就是随着海外租车兴起,X宝,租租车都提供了免费的国际驾照翻译认证件,如图

在实际使用过程中,这个免费的驾照翻译件还是很管用的。

每个国家对于驾照都有自己的法律规定。

对于自驾游,要详细了解沿途每个国家的驾照相关法律规定也不现实。

所以这个翻译件提供9国语言,拿着它的好处如下;

1、被别国警察查到,起码知道这是个啥,有文字能看懂;

2、被查时,有个对方看得懂的证件可以给对方出示;避免了一些麻烦;

实际上,只要不违反一些路牌标识、超速等违法行为,被查的概率很小。

2018-11-21发布
12862
您未登录无法发布评论,请【登录】
发布
最新留言
声明本文由用户发布,大自驾网仅提供信息存储空间服务,如有侵权请联系QQ:1401399094删除。

王小凡-大自驾 关注

大自驾注册用户

1
关注
1343
笔记
1
粉丝
相关目的地
关注大自驾微信
关注微信报名优惠20元